Альтернативный двигатель перендева своими руками
Альтернативный двигатель перендева своими руками
ИМПУЛЬСНЫЙ М АГНИТНЫЙ ДВИГАТЕЛЬ — RU,
НОВЫЙ ВАРИАНТ
Фрагмент конструкции МД.
4. ВЫВОДЫ:
Очевидно, что магнитный двигатель, работающий за счет сил взаимодействия магнитных полей, с устройством управления (УУ) или синхронизации, для работы которого требуется внешний источник питания, потребляемая мощность от которого значительно меньше мощности на валу МД.
Двигатель — генератор на 100 кВт стоит 24 000 евро.
Дорого, поэтому некоторые умельцы изготавливают его своими руками в масшабе 1/4
( фото приведено выше ).
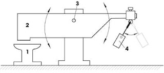
Рисунок действущего макета разработанного импульсного магнитного двигателя
МД-500-RU, дополненного асинхронным генераторм переменного тока.
Страная «качалка» сербского изобретателя В.Милковича , которая, как ни странно, — работает.
http://www.veljkomilkovic.com/OscilacijeEng.html
Краткий перевод:
Простой механизм с новыми механическими эффектами, представляющим собой источник энергии. Машина имеет только две основных части: огромный рычаг на оси и маятник. Взаимодействие двухступенчатого рычага умножает входную энергию удобную для полезной работы (механический молот, пресса, насос, электрический генератор. ). Для полного ознакомления с научными исследованиями смотрите видио.
1 — «Наковальня», 2 — Механический молот с маятником, 3 – Ось рычага молота, 4 — Физический маятник.
Наилучшие результаты были достигнуты, когда ось рычага и маятника находятся на
одной и той же высоте, но немного выше центра массы, как показано на рисунке.
В машине используется различие в потенциальной энергии между состоянием невесомости в положении ( вверху) и состоянием максимальной силы (усилия) (внизу) в течение процесса генерации энергии маятником. Это истина для центробежной силы, для которой сила равна нулю в верхней позиции и достигает наибольшего значения в нижней позиции, в которой скорость максимальна. Физический маятник использован как главное звено генератора с рычагом и маятником.
После многих лет испытаний, консультаций и общественных презентаций, много
было сказано об этой машине. Простота конструкции для самостоятельного изготовления в домашних условиях.
Эффективность модели может быть за счет повышения массы, как отношение веса (массы) рычага к поверхности молота, ударяющего по «наковальне».
Согласно теории генерации, колебательные перемещения «качалки» трудно поддаются анализу.
***
Испытания указали на важное значение процесса синхронизации частоты в каждой модели. Генерация физического маятника должна происходить с первого запуска и далее поддерживаться самостоятельно, но только при определенной скорости, в противном случае входная энергия будет затухать и исчезнет.
Молот более эффективно работает с коротким маятником (в насосе), но длительно (наиболее долго) работают с удлиненным маятником.
Дополнительное ускорение маятника является следствием силы тяжести. Если обратиться
к формуле: Ек = М(V1 +V 2)/2
и провести вычисления избытока энергии становится понятным, что он обусловлен потенциальной энергией гравитации. Кинетическая энергия может быть повышена путем увеличения тяжести (массы).

Демонстрация работы устройства.
***
РУССКАЯ КАЧАЛКА (резонансная к ачалка RU)
http://www.001-lab.com/001lab/index.php?topic=140.0
Cм.
RE Магнитогравитационные установки
Reply #14 : Март 02, 2010, 05:27:22
Видео: Работа в резонансе.rar (2955.44 Кб — загружено 185 раз.)
Работает.
ГЕНЕРАТОРЫ С ИЗБЫТОЧНОЙ ЭНЕРГИЕЙ (TORS TT)
НОВОЕ НАПРАВЛЕНИЕ В СОЗДАНИИ ГЕНЕРАТОРОВ СВОБОДНЙ ЭНЕРГИИ
1. Известная схема устройства на базе изобретения Эдвина Грея, которое заряжает аккумулятор Е1 от которого оно и питается или внешний акккумулятор Е2, переключением элемента S2а — S2б. Т1,Т2 — мультивибратор (можно выполнить на ИМС), запускающий гнератор высоковольтных колбений на Т3, Т4 и Т5.
L2, L3 — понижающий трансформатор, далее выпрямитель на D3, D4.
и трансформатр L2 — L3 можно вставит ферритовый сердечник (600 -1000 мп).
Элементы, заключенные в зеленый прямоугольник похожи на так называемую «конверсионную элементную трубку». В качестве искрового разрядника можно использовать обычную автомобильную свечу, а в качестве автотрансформатора (L1) – автомобильную катушку зажигания.
Другие схемные решения можно найти н а youtube.com в видеоматериалах по генераторам «свободной энергии», т.н. TROS, amplifier и др. со схемами этого вида генераторов энергии. Схемы генераторов избыточной энергии TORS TT, это когда потребляемая генератором мощность, предположительно, значительно меньше энергии выделяемой в нагрузке.
2. Очень интересный генератор Joule Thief избыточной энергии, работает от 1,5В, а питает лампы накаливания.
3. Наибольший интерес представляет генератор свободной энергии , работающий от источника постоянного тока 12 — 15В, который на выходе «тянет» несколько ламп накаливания на 220В.
http://www.youtube.com/watch?v=Y_kCVhG-jl0&feature=player_embedded
Однако, автор не раскрывает технические особенности изготовления этого вида генератора электрической энергии, с так называемой самозапиткой.
Кадр из этого видео ролика.
40мм). С ней придется разбираться, искать аналогичную конструкцию из множества подобных. Естественно, если будет желание.
Катушку, аналогичную используемой можно посмотреть на: http://jnaudin.free.fr/kapagen/replications.htm
http://www.001-lab.com/001lab/index.php?topic=24.0
УСПЕХОВ!
4. Достоверная схема генератора Капанадзе
Подробности на http://www.youtube.com/watch?v=tyy4ZpZKBmw&feature=related
С этим варианотом схемы могут быть затруднения с достижением положительного эффекта.
Элемент, обозначаемый буквами МОТ — это сетевой трансформатор 220/2000 . 2300В,
в большинстве сучаев от микроволновой печи, Р входа до 1400Вт, Р по выходу (СВЧ) 800Вт.
ВОДОРОД МОЖНО ПОЛУЧАТЬ ОБЛУЧЕНИЕМ ВОДЫ ВЧ КОЛЕБАНИЕМ.
http://peswiki.com/index.php/Directory:John_Kanzius_Produces_Hydrogen_from_Salt_Water_Using_Radio_Waves
John Kanzius
The authors have shown that NaCl-H2O solutions of concentrations ranging from 1 to 30%, when exposed to a polarised RF radiofrequency beam at at room temperature, generate an intimate mixture of hydrogen and oxygen which can be ignited and burned with a steady flamePatent of John Kanzius…
Преревод:
John_Kanzius показал, что раствор NaCl-H2O с концентрацией, колеблющейся от 1 до 30%, когда его облучают направленным поляризованным (polarised radiofrequency) ВЧ излучением с частотой, равной резонансной частоте раствора, порядка 13,56 МГц , при комнатной температуре начинает выделять водород, который в смеси с кислородом, начинает устойчиво гореть. При наличии искры водород воспламеняется и горит ровным пламенем, температура которого, как показывают эксперименты, может превышать 1600 градусов Цельсия.
Удельная теплота сгорания водорода: 120 Мдж/кг или 28000 ккал/кг.
Пример схемы ВЧ генератора:
***
Подробнее можно посмотреть на:
http://www.scribd.com/doc/36600371/Kanzius-Hydrogen-by-RF
Observations of polarised RF radiation catalysis of dissociation of H2O–NaCl solutions
R. Roy, M. L. Rao and J. Kanzius. The authors have shown that NaCl–H2O solutions of concentrations ranging from 1 to 30%, when exposed to a polarised radiofrequency beam at 13,56 MHz.
Ответ на вопрос читателя:
Я получал водород, заливая водным раствором едкого натра (Na 2 CO 3 ) пластину алюминия (100 х100 х 1мм). В воде кальцинированная сода реагирует с водой
2CO 3 − + H 2 O ↔ HCO 3 − + OH− и образует гидроксил ОН, который очищает алюминий от пленки. Далее начинается известная реакция:
2Аl + 3Н 2 О = A1 2 О 3 + 3H 2 с выделением тепла и интенсивным выделением водорода, схожая с кипением воды. Реакция проходит без электролиза!
Эксперимент следует проводить осторожно, чтобы не произошло возгорание и взрыв водорода. Или сразу предусмотреть отвод водорода из накрытого крышкой сосуда с рабочими компонентами. В процессе реакции выделения водорода, через некоторое время, алюминиевая пластина начинает покрывается отходами реакции хлоридом кальция CaCl 2 и окисью алюминия A1 2 О 3 . Интенсивность химической реакции через некоторое время начнет снижаться.
Для поддержания её интенсивности следует удалить отходы, заменить раствор едкого натра и алюминиевую пластину на другую. Использованную, после очистки можно, применять снова и т.д. до полного их разрушения. Если применять дюраль, реакция протекает с выделением тепла.
***
Аналогичная разработка:
Your house can be warmed up this way. (Ваш дом может быть обогрет этим способом)
Изобретатель Mr. Francois P. Cornish. Европейский патент №0055134А1 от 30.06.1982, применительно к бензиновому двигателю, он позволяет машине нормально двигаться, используя вместо бензина, воду и небольшое количество алюминия.
Mr. Francois P. в своем устройстве, использовал электролиз (при 5-10 кВ) в воде с алюминиевой проволокой, которую предварительно очищал от окиси до введения её в камеру, из которой по трубке отводил водород и подавал его в велосипедный двигатель.
Конструкция этой штуковины
Возник вопрос, что дороже на 100 км пути — бензин или алюминий с высоковольтным источником и аккумулятором?
Если «люмнь» со свалки или из отходов куханной посуды, то будет дешево.
***
Дополнительно, можете посмотреть подобное устройство здесь: http://macmep.h12.ru/main_gaz.htm
и здесь: «Простой народный способ получения водорода»
http://new-energy21.ru/content/view/710/179/,
а здесь http://www.vodorod.net/ — информация о генераторе водорода за 100 баксов. Я бы не покупал, т.к. на видео не видно явного возгорания водорода на выходе бидона с компонентами для электролиза.
